Промышленные котельные установки
24 апр 2019 в 17:55
Общие сведения
Котельная установка представляет собой комплекс, который включает в себя котел и дополнительное оборудование. Системы, которые получают пар или горячую воду под давлением, используя тепло от сгорания топлива или подведенное тепло от внешних источников (обычно горячие газы), называются котельными аппаратами. Они могут быть как паровыми, так и водогрейными. Существуют также котлы-утилизаторы, которые используют отходящее тепло от газов или других основных или побочных продуктов различных технологических процессов.
Составные части котла включают: горелку, пароперегреватель, экономайзер, воздухоподогреватель, каркас, муровейку, тепловую изоляцию, обшивку.
Дополнительное оборудование может включать: вентиляторы, приборы для очистки нагреваемых поверхностей, средства для подготовки топлива и его подачи, оборудование для удаления шлака и золы, приспособления для очистки газов, трубопроводы для воды, пара и топлива, арматуру, сопутствующую арматуру, автоматизацию, контрольные и защитные устройства, оборудование для подготовки воды и дымовую трубу.
Арматура включает в себя регулировочные и запорные устройства, предохранительные и водопробные клапаны, манометры, водяные индикаторы.
Сопутствующую арматуру составляют лазы, гляделки, люки, шиберы, заслонки.
Здание, где установлены котлы, называется котельной.
Система, включающая котельный аппарат и вспомогательное оборудование, называется котельной установкой. В зависимости от типа используемого топлива и других условий некоторые из перечисленных элементов вспомогательного оборудования могут быть исключены. Котельные установки, которые обеспечивают паром турбины тепловых электростанций, называются энергетическими. Для обеспечения паром производственных потребителей и отопления зданий создают специальные производственные и отопительные котельные установки. Технологическая схема котельной установки с барабанным паровым котлом представлена на рисунке ниже.

Рисунок показывает, что барабанный котельный агрегат состоит из горелочной камеры и газопроводов, барабана, поверхностей нагрева, находящихся под давлением рабочей среды (воды, пароводяной смеси, пара), воздухоподогревателя, соединительных трубопроводов и воздуховодов. Различные поверхности нагрева, находящиеся под давлением, включают в себя водяной экономайзер, испарительные элементы, главным образом образованные экранными панелями горелки и фестоном, и пароперегреватель. Все поверхности нагрева котла обычно трубчатые. Только некоторые мощные паровые котлы имеют воздухоподогреватели других конструкций. Нижняя часть горелки котельного агрегата, имеющая форму трапеции, называется "холодной воронкой" - это место, где остывает частично забившийся зольный остаток, который падает в специальное устройство для приема в виде шлака. Газомазутные котлы не имеют "холодной воронки". Газоход, в котором расположены водяной экономайзер и воздухоподогреватель, называют конвективным (или конвективной шахтой), в нем тепло продуктов сгорания передается воде и воздуху больше посредством конвекции. Встроенные в этот газоход нагревательные поверхности или "хвостовые" позволяют снизить температуру продуктов сгорания с 500-700°C после пароперегревателя почти до 100°C, то есть эффективнее использовать тепло сжигаемого топлива. Вся трубчатая система и барабан котла поддерживаются каркасом, состоящим из столбов и перекрестных балок. Горелка и газопроводы защищены от потери тепла наружной кладкой - слоем огнеупорных и изоляционных материалов. С внешней стороны стенки котла обшиты герметичной стальной пластиной для предотвращения сосания избыточного воздуха в горелку и выброса загрязненных горячих продуктов сгорания, содержащих токсичные компоненты.
Компоненты паровых котлов (парогенераторов) обозначаются как давление p, в мегапаскалях, температура t, в градусах цельсия, и количество (пропускная способность) пара, D, в тоннах в час или килограммах в секунду. Водогрейные котлы оцениваются по их тепловой производительности в киловаттах или мегаваттах (в системе МКС Гкал/ч), температуре воды, в градусах цельсия, и давлению нагретой воды, в меганьютонах на квадратный метр или килограммов на квадратный сантиметр.
Паровые котлы производственных котельных
В промышленных котельных, обеспечивающих предприятия паром низкого давления (до 1,4 МПа), используются паровые котлы, производимые местной промышленностью, с пропускной способностью до 50 т/часов. Эти котлы предназначены для сжигания различных видов топлива, включая твердое, жидкое и газообразное. Главным типом паровых котлов небольшой производительности, которые получили широкое распространение в различных отраслях промышленности, коммунальном и сельскохозяйственном секторах (где пар используется для технологических и отопительных нужд), а также на небольших электрических станциях, являются вертикальные водотрубные котлы типа ДКВР (двухбарабанный вертикальный котел, модернизированный).

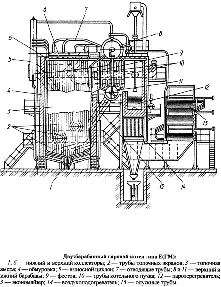
Помимо этих, широко используются газомазутные (паровые) котлы небольшой и средней мощности серии Е(ДЕ) и Е(ГМ), с пропускной способностью 4-25 т/ч, давлением насыщенного и перегретого пара 1,4-3,9 МПа, температурой 380-440°C. Главный вид котла Е(ГМ) можно увидеть на рисунке ниже.

Водогрейные котлы
Для централизованного теплоснабжения крупных промышленных предприятий, городов и отдельных районов используются стальные водонагревательные котлы высокой тепловой мощности. Водонагревательные котлы создают горячую воду за счет прямого протока воды. Конечная температура нагрева воды зависит от необходимости поддержания стабильной температуры в жилых и рабочих помещениях, оснащенных отопительными приборами. Поэтому при постоянной площади отопительных приборов температуру воды увеличивают при понижении температуры окружающей среды. Водонагревательные котлы обычно подогревают воду от 70... 104 до 150... 170 °С. Сейчас возрастает тенденция к повышению температуры подогрева воды до 180...200 °С. Коммерчески популярные модели включают газомазутные котлы типов КВГМ и ПТВМ. КВГМ типа котлы тепловой мощности 4; 6,5; 10; 20 и 30 Гкал/часы (4,8-35 МВт) имеют горизонтальное расположение горелки и поверхности нагрева с прямоточным принудительным движением воды.



Их простая конфигурация и небольшое сопротивление конвективных решеток позволяют работать с естественным тяг, сохраняя установку дымососов.
Общие сведения
Котельная установка представляет собой комплекс, который включает в себя котел и дополнительное оборудование. Системы, которые получают пар или горячую воду под давлением, используя тепло от сгорания топлива или подведенное тепло от внешних источников (обычно горячие газы), называются котельными аппаратами. Они могут быть как паровыми, так и водогрейными. Существуют также котлы-утилизаторы, которые используют отходящее тепло от газов или других основных или побочных продуктов различных технологических процессов.
Составные части котла включают: горелку, пароперегреватель, экономайзер, воздухоподогреватель, каркас, муровейку, тепловую изоляцию, обшивку.
Дополнительное оборудование может включать: вентиляторы, приборы для очистки нагреваемых поверхностей, средства для подготовки топлива и его подачи, оборудование для удаления шлака и золы, приспособления для очистки газов, трубопроводы для воды, пара и топлива, арматуру, сопутствующую арматуру, автоматизацию, контрольные и защитные устройства, оборудование для подготовки воды и дымовую трубу.
Арматура включает в себя регулировочные и запорные устройства, предохранительные и водопробные клапаны, манометры, водяные индикаторы.
Сопутствующую арматуру составляют лазы, гляделки, люки, шиберы, заслонки.
Здание, где установлены котлы, называется котельной.
Система, включающая котельный аппарат и вспомогательное оборудование, называется котельной установкой. В зависимости от типа используемого топлива и других условий некоторые из перечисленных элементов вспомогательного оборудования могут быть исключены. Котельные установки, которые обеспечивают паром турбины тепловых электростанций, называются энергетическими. Для обеспечения паром производственных потребителей и отопления зданий создают специальные производственные и отопительные котельные установки. Технологическая схема котельной установки с барабанным паровым котлом представлена на рисунке ниже.

Рисунок показывает, что барабанный котельный агрегат состоит из горелочной камеры и газопроводов, барабана, поверхностей нагрева, находящихся под давлением рабочей среды (воды, пароводяной смеси, пара), воздухоподогревателя, соединительных трубопроводов и воздуховодов. Различные поверхности нагрева, находящиеся под давлением, включают в себя водяной экономайзер, испарительные элементы, главным образом образованные экранными панелями горелки и фестоном, и пароперегреватель. Все поверхности нагрева котла обычно трубчатые. Только некоторые мощные паровые котлы имеют воздухоподогреватели других конструкций. Нижняя часть горелки котельного агрегата, имеющая форму трапеции, называется "холодной воронкой" - это место, где остывает частично забившийся зольный остаток, который падает в специальное устройство для приема в виде шлака. Газомазутные котлы не имеют "холодной воронки". Газоход, в котором расположены водяной экономайзер и воздухоподогреватель, называют конвективным (или конвективной шахтой), в нем тепло продуктов сгорания передается воде и воздуху больше посредством конвекции. Встроенные в этот газоход нагревательные поверхности или "хвостовые" позволяют снизить температуру продуктов сгорания с 500-700°C после пароперегревателя почти до 100°C, то есть эффективнее использовать тепло сжигаемого топлива. Вся трубчатая система и барабан котла поддерживаются каркасом, состоящим из столбов и перекрестных балок. Горелка и газопроводы защищены от потери тепла наружной кладкой - слоем огнеупорных и изоляционных материалов. С внешней стороны стенки котла обшиты герметичной стальной пластиной для предотвращения сосания избыточного воздуха в горелку и выброса загрязненных горячих продуктов сгорания, содержащих токсичные компоненты.
Компоненты паровых котлов (парогенераторов) обозначаются как давление p, в мегапаскалях, температура t, в градусах цельсия, и количество (пропускная способность) пара, D, в тоннах в час или килограммах в секунду. Водогрейные котлы оцениваются по их тепловой производительности в киловаттах или мегаваттах (в системе МКС Гкал/ч), температуре воды, в градусах цельсия, и давлению нагретой воды, в меганьютонах на квадратный метр или килограммов на квадратный сантиметр.
Паровые котлы производственных котельных
В промышленных котельных, обеспечивающих предприятия паром низкого давления (до 1,4 МПа), используются паровые котлы, производимые местной промышленностью, с пропускной способностью до 50 т/часов. Эти котлы предназначены для сжигания различных видов топлива, включая твердое, жидкое и газообразное. Главным типом паровых котлов небольшой производительности, которые получили широкое распространение в различных отраслях промышленности, коммунальном и сельскохозяйственном секторах (где пар используется для технологических и отопительных нужд), а также на небольших электрических станциях, являются вертикальные водотрубные котлы типа ДКВР (двухбарабанный вертикальный котел, модернизированный).

Помимо этих, широко используются газомазутные (паровые) котлы небольшой и средней мощности серии Е(ДЕ) и Е(ГМ), с пропускной способностью 4-25 т/ч, давлением насыщенного и перегретого пара 1,4-3,9 МПа, температурой 380-440°C. Главный вид котла Е(ГМ) можно увидеть на рисунке ниже.

Водогрейные котлы
Для централизованного теплоснабжения крупных промышленных предприятий, городов и отдельных районов используются стальные водонагревательные котлы высокой тепловой мощности. Водонагревательные котлы создают горячую воду за счет прямого протока воды. Конечная температура нагрева воды зависит от необходимости поддержания стабильной температуры в жилых и рабочих помещениях, оснащенных отопительными приборами. Поэтому при постоянной площади отопительных приборов температуру воды увеличивают при понижении температуры окружающей среды. Водонагревательные котлы обычно подогревают воду от 70... 104 до 150... 170 °С. Сейчас возрастает тенденция к повышению температуры подогрева воды до 180...200 °С. Коммерчески популярные модели включают газомазутные котлы типов КВГМ и ПТВМ. КВГМ типа котлы тепловой мощности 4; 6,5; 10; 20 и 30 Гкал/часы (4,8-35 МВт) имеют горизонтальное расположение горелки и поверхности нагрева с прямоточным принудительным движением воды.



Их простая конфигурация и небольшое сопротивление конвективных решеток позволяют работать с естественным тяг, сохраняя установку дымососов.
Раздел: Электрика
Случайная статья: Измерение сопротивления заземления